Re: Библиотека
1975г. ХВЗ/В.М.Майборода. Работа над переключателями передач.

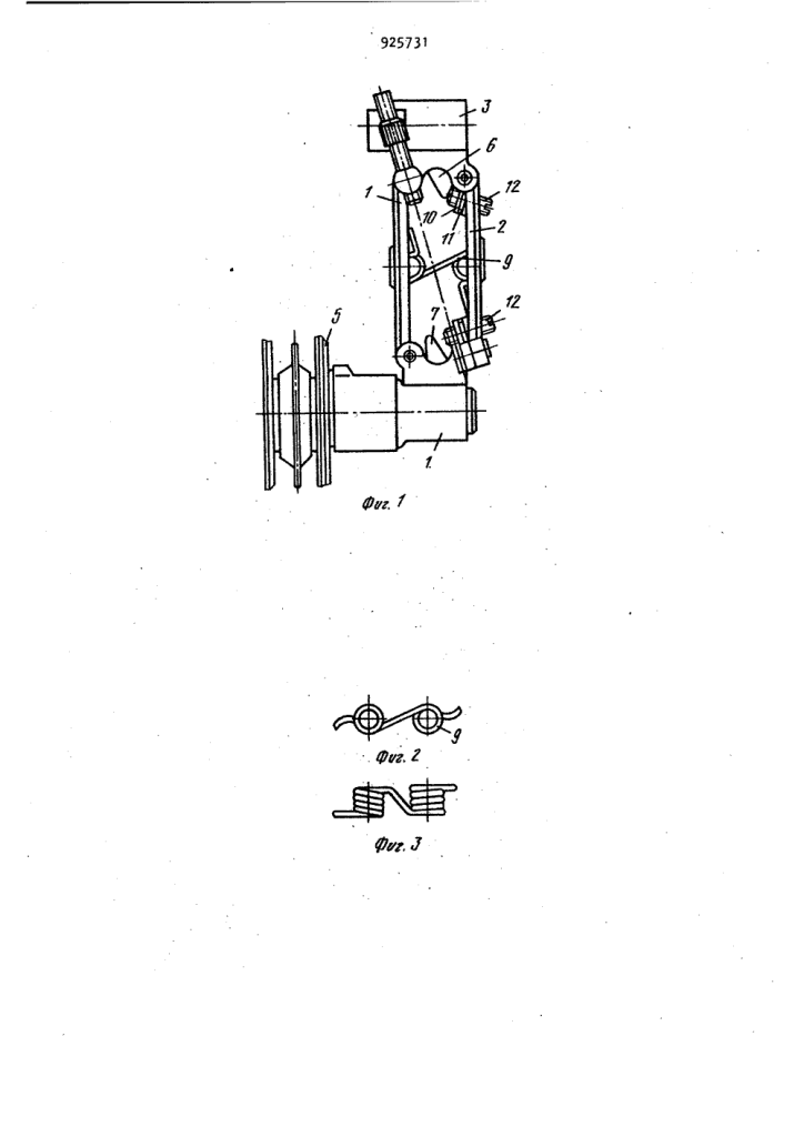
Здесь можно легко узнать серийный харьковский переключатель приблизительно 1974-76 годов (если он с короткой лапкой натяжителя) и 1977-девяностых годов (с длинной лапкой натяжителя).
Спортсменом можешь ты не быть, но велик "Спорт" иметь ОБЯЗАН!!!
Собаки не лают на В541 — они восторженно бегут рядом!!
Re: Библиотека
Носорев Тарас,
Но их так и не выпускали вроде?
Видел только одноосевые с боковой тягой.
Re: Библиотека
SD, серийных не видывали. Да.
Спустя несколько лет одноосевые тормоза снова стали применять на ХВЗ.
( Имею в виду на спортивных и туристических моделях).
Спортсменом можешь ты не быть, но велик "Спорт" иметь ОБЯЗАН!!!
Собаки не лают на В541 — они восторженно бегут рядом!!
Re: Библиотека
Носорев Тарас, зачем вообще нужна синхронизация рычагов? не будет ли тогда одна колодка давить сильнее при неидеально установленном колесе?
Re: Библиотека
Sozeenov, похоже, что разработчики предусмотрели такой случай и предоставили возможность повернуть вокруг установочной оси в нужную сторону общее основание с рычагами, подрегулировав так схождение колодок. Здесь ведь невозможно плавно выдвигать колодки, как на привычных хвз-тормозах 60-70 ых годов.
...Эврика!!! А на заводе-то... Ведь, смонтировав при сборке на конвейере тормоз с синхронизироваными рычагами и нажав на ручку тормоза, сборщик сведёт колодки на ободе, а далее общее основание рычагов само выставится в установившееся "среднее" положение, после чего нужно закрутить финальную гайку на центральной оси и отпустить ручку тормоза. Затем следующий тормоз, и следующий, и следующий........ И так целый день. Гениально!
Спортсменом можешь ты не быть, но велик "Спорт" иметь ОБЯЗАН!!!
Собаки не лают на В541 — они восторженно бегут рядом!!
#265 06-02-2026 21:15:39 (07-02-2026 18:24:59 отредактировано Кокос)
Re: Библиотека
Поиском не нашел ни по автору ни по названию. Если Повторяюсь, прошу удалить.
ГЛАВКООПКУЛЬТТОРГ
Минавтопром ЦКТБ велостроения.
Велосипеды и запасные части. 1974[
Re: Библиотека
Давно коллеги дразнили нас отдельными страницами отсюда
Теперь она вся есть
Добавлена в стартпост почти в начало раздела "Общие вопросы, теория, устройство велосипеда. Словарь.".
Ссылка в посте коллеги Кокос тоже ведёт на гуглодиск Кроковода, рабочая.
Мастер спорта по езде за хлебушком на велосипеде.
Если не я построил велосипед — это не мой велосипед.
Re: Библиотека
Давно коллеги дразнили нас отдельными страницами отсюда Теперь она вся есть
Ого, круто! а я в поисках инструкции на В552, случайно наткнулся на неё на рутрекере
Сейчас еще сиды подключились — выкачалась книга, к сожалению богомерзкий дежавю.
Лещенко В. С. и Пюльккянен А. Н. — Велосипед — 1956
В подзаголовке "спутник велосипедиста" Возможно более ранняя версия того, что тут уже есть.
https://drive.google.com/file/d/1uJeG4j … sp=sharing
Не знаю зачем скачал отуда же мануал на втулки Sturmey Archer, написано 1951 от Рождества Христова.
https://drive.google.com/file/d/1VE7fmV … sp=sharing
Re: Библиотека
Кокос,
Книга и мануал перекачаны на наш диск. В Вашем посте ссылки уже поправил на сюда (в смысле, свой диск можете освобождать).
Мануал СА разместился рядом с другими — в теме "Планетарки". Я его ужал с мега-качества 40 Мб до хорошего качества 9 Мб. Ну а книга — в стартпост сюда добавлена.
Как это — зачем? У меня тех годов есть СА как раз 
Мастер спорта по езде за хлебушком на велосипеде.
Если не я построил велосипед — это не мой велосипед.
Re: Библиотека
Лещенко В. С. и Пюльккянен А. Н. — Велосипед
И да, прикольная книжонка. Бегло листая, нашёл там классные иллюстрации палочно-верёвочного метода правки рам. А так же целый раздел про веломотор Иртыш.
Мастер спорта по езде за хлебушком на велосипеде.
Если не я построил велосипед — это не мой велосипед.




















